Требования к тележкам пассажирских вагонов. ~ Вагонник Нормативные документы ОАО РЖД - приказы, распоряжения, регламенты, стандарты, протоколы РЖД Электропоезда постоянного тока Силовые цепи моторного вагона 47 БИЛЕТ-ОТВЕТ 

Реферат на тему двери пассажирских вагонов Вагонник: Порядок вывода неисправного вагона с перегона Электропоезда постоянного тока Силовые цепи моторного вагона Механическое оборудование пассажирского вагона - Общие сведения о механическом устройстве пассажирских вагонов - Дисциплина 3: О Об утверждении Регламента взаимодействия локомотивных бригад с причастными работниками ОАО Служебно-технические вагоны - Пассажирские вагоны - Каталог файлов - Виртуальные поезда 
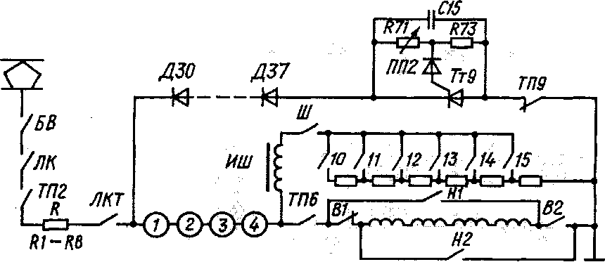
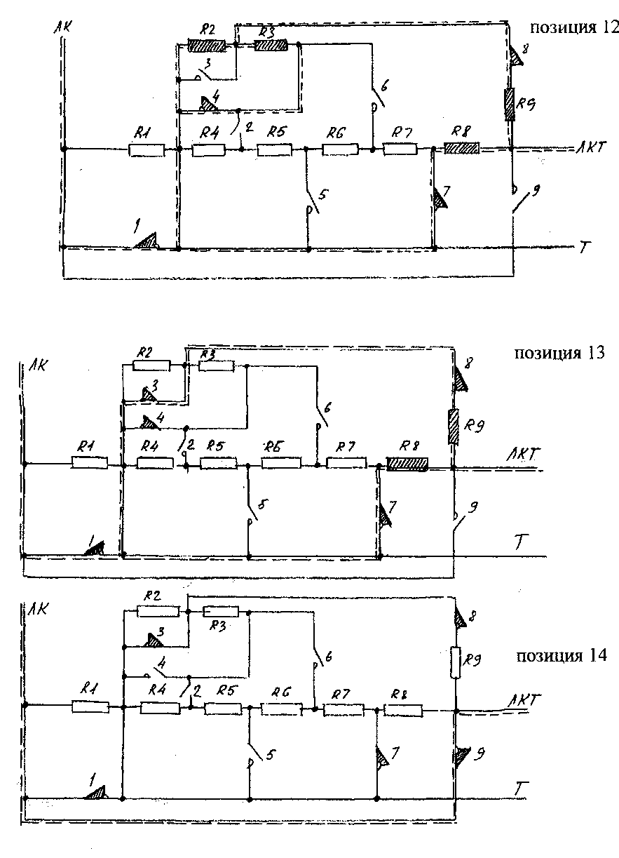
января 2016 Вагонник Электропоезда постоянного тока Силовые цепи моторного вагона 
Электропоезда постоянного тока Силовые цепи моторного вагона Возвращение поезда с перегона на станцию отправления 
Вывод неисправного вагона с ползуном на поверхности катания с перегона - YouTube ABOS. 
Электропоезда постоянного тока Силовые цепи моторного вагона Действия работников на перегоне, при наличии дефектов на поверхности катания колесной пары больше Пассажирские Вагоны Для Trainz 12 Реферат на тему двери пассажирских вагонов Распоряжение 2817Р | Форум VIII. Действия при падении давления в тормозной магистрали с разъединением (разрывом) поезда